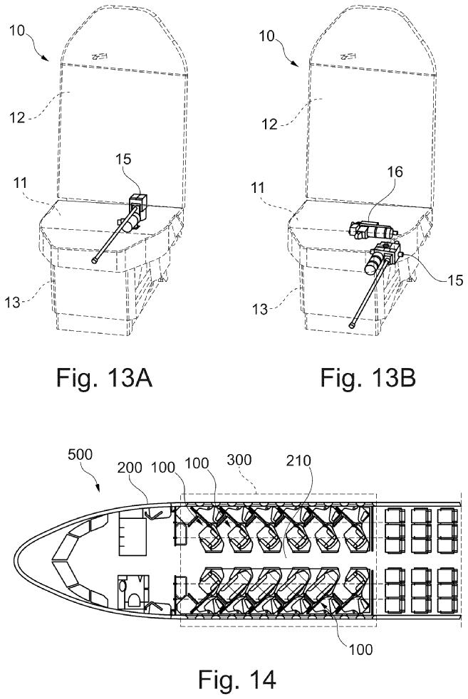
Airbus, dar ve geniş gövdeli uçaklarda kullanılmak üzere yeni business class koltuk konsepti geliştirdi.
Şirket tarafından alınan patente göre paralelkenar şeklinde tasarlanan modüler koltuklar, tamamen yatak pozisyonuna dönüşebiliyor. Tek bir elektrik motoruyla çalışan mekanizma sayesinde sırtlık, oturma alanı ve ayak dayama ünitesi eş zamanlı hareket ederken, sistemin ağırlığının ve arıza riskinin azaltılması hedefleniyor.

A321XLR’DE ALAN VERİMLİLİĞİNİ ARTIRACAK
Yeni tasarımın özellikle Airbus A321XLR gibi dar gövdeli uçaklarda alan verimliliğini artırması öngörülüyor. Koltukların yerleşimi sayesinde her yolcuya doğrudan koridor erişimi sağlanabilirken, kabin içerisinde daha fazla premium koltuk konumlandırılabiliyor.
DİĞER UÇAKLAR İÇİN DE UYGULANABİLECEK
Konseptin, Airbus A330 ve Airbus A350 gibi geniş gövdeli uçaklarda da uygulanabileceği belirtiliyor.
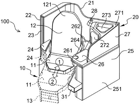
Katlanabilir kol dayamaları, hareketli konsollar ve sürgülü kapılarla donatılan koltukların, yolculara daha fazla mahremiyet sunarak mini süit konseptine yakın bir deneyim sağlaması amaçlanıyor.

Tasarım, havayolu şirketlerinin premium kabin gelirlerini artırma talebine yanıt niteliği taşıyor. Yeni nesil koltukların seri üretime geçmesi halinde, üretici tarafından doğrudan uçak teslimatına entegre edilebilecek (line-fit) çözümler sunulması ve sertifikasyon süreçlerinin kolaylaşması bekleniyor.
Öte yandan, geliştirilen konseptin şu aşamada patent düzeyinde olduğu, ticari kullanıma ne zaman geçeceğinin ise henüz netlik kazanmadığı ifade ediliyor.

